曝光详情
登录
退出登录
我要曝光
W9213
发表于
澳大利亚
澳大利亚诈骗
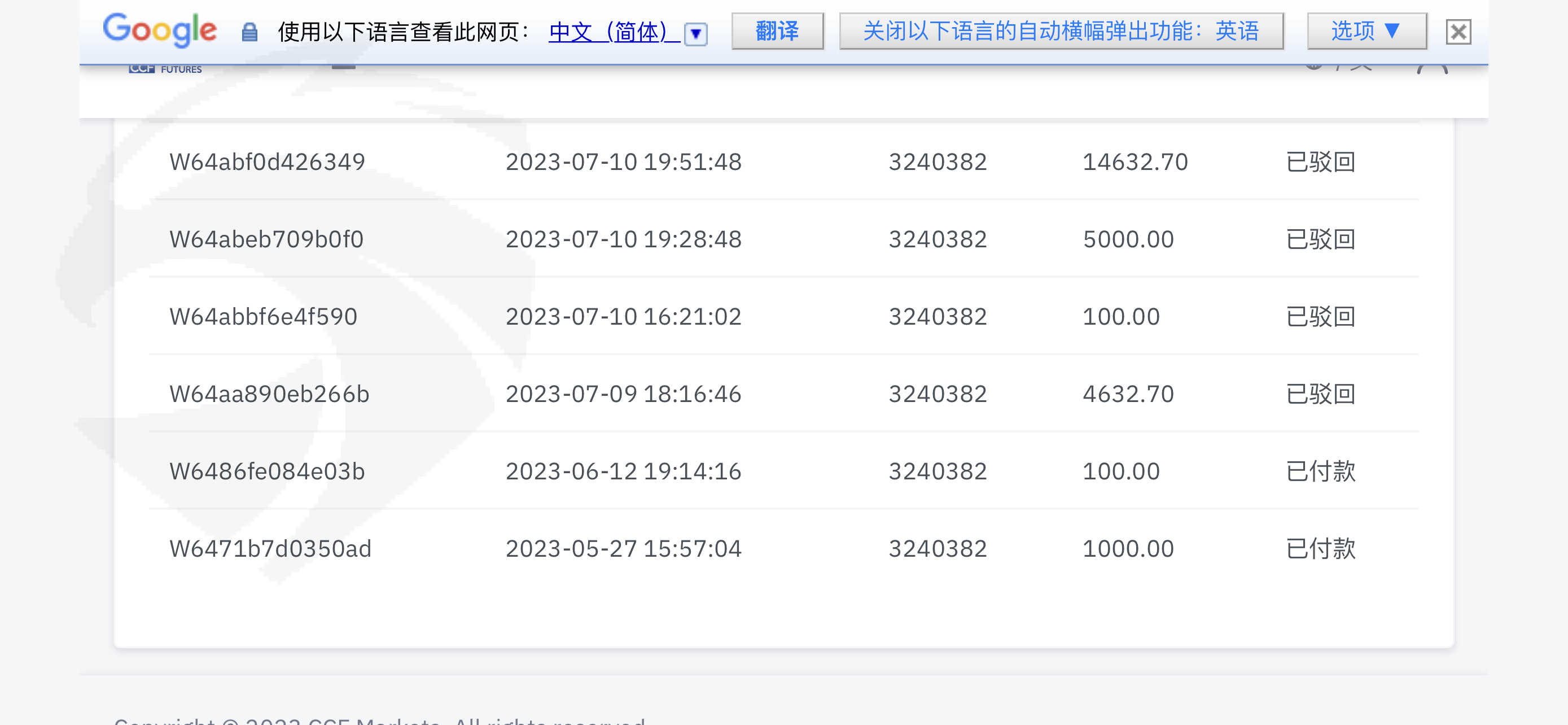
金融诈骗!手机号做假,杀猪盘!此平台专门骗在澳洲华人!
诱导欺诈
CCF Markets
举报
内容不实
辱骂攻击
内容无意义
诱导诈骗
地域攻击
泄露隐私
内容抄袭
种族歧视
其它
确定
提示
确定
×
确认已解决吗?
确定
取消
您确定要结贴吗?
取消结帖
确认结帖